Труба с лючком под манжетное соединение

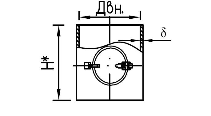
Труба с лючком. Предназначена для обзора продукта и внутреннего обслуживания самотечного трубопровода. Уплотнение лючка сделано из мягкой резины, что исключает попадание продукта наружу. Толщина металла 2 или 3мм. Деталь окрашена износостойкой порошковой эмалью. Возможно изготовление из нержавеющей стали. Исполнение: Ф100 Н=200 б=2.0 мм маркировка СТЛ-М-100-2 марка по нормали СТ19-01 Ф100 Н=200 б=3.0 мм маркировка СТЛ-М-100-3 марка по нормали ----- Ф120 Н=200 б=2.0 мм маркировка СТЛ-М-120-2 марка по нормали СТ19 Ф120 Н=200 б=3.0 мм маркировка СТЛ-М-120-3 марка по нормали ----- Ф150 Н=200 б=2.0 мм маркировка СТЛ-М-150-2 марка по нормали СТ19-02 Ф150 Н=200 б=3.0 мм маркировка СТЛ-М-150-3 марка по нормали ----- Ф200 Н=200 б=2.0 мм маркировка СТЛ-М-200-2 марка по нормали СТ19-03 Ф200 Н=200 б=3.0 мм маркировка СТЛ-М-200-3 марка по нормали -----